Відлагоджувальна плата STM8L DISCOVERY створена спеціально для дослідження роботи енергоефективного мікроконтролера серії STM8L і призначена для використання в якості дослідницького інструменту, а також для прототипування створюваних додатків.
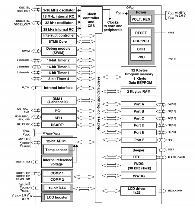
STM8L DISCOVERY побудована на базі мікроконтролера STM8L152C6T6 і включає вбудований інтерфейс інструменту налагодження ST-Link, ЖК-дисплей (24 сегмента, 4 звичайних), світлодіоди і кнопки.
Ключові особливості:
- Мікроконтролер STM8L152C6T6, 32 КБ флеш-пам'яті, 2 КБ ОЗУ, 1 КБ EEPROM в 48-контактному LQFP

- Вбудований ST-Link з перемикачем режиму вибору для використання комплекту в якості автономного ST-Link (з роз'ємом SWIM для програмування і налагодження)
- Два червоних світлодіода; LD1 для USB-зв'язку, LD2 для живлення 3,3 В
- Призначений для живлення від USB або зовнішнього джерела 5 В або 3,3 В
- Може живити цільовий додаток з напругою 5 В і 3 В
- Два призначені для користувача світлодіода, LD3 і LD4 (зелений і синій)
- Дві кнопки (Користувач і Скидання)
- Вимірювання струму IDD
- ЖК-дисплей 28-контактний DIP (24 сегмента, 4 Загальне)
- Роз'єм розширення для всіх входів / виходів QFP48 для швидкого підключення до макетної платі для спрощення перевірки
Діаграма блоків плати:

Елементи плати:


Габаритні розміри:

Немає відгуків про цей товар, станьте першим, залиште свій відгук.
Немає питань про даний товар, станьте першим і задайте своє питання.
Ми доставляємо замовлення по всій території країни (крім тимчасово окупованих теріторій).
Всі товари 100% є на складі, а тому ми відправимо їх сьогодні ж або завтра, якщо ви зробили замовлення після 18:00.
Способи оплати:
- Оплата карткою на сайті
- Оплата частинами
- Післяоплата у відділеннях НП
- Переказ на банківську картку
- Безготівковий розрахунок
- Оплата частинами
- Післяоплата у відділеннях НП
- Переказ на банківську картку
- Безготівкова оплата
- 100% оригінальний товар
- Гарантія 12 міс.
- 14 днів на повернення